一份PPT彻底搞懂弱电工程 从智能化系统设计到施工全流程解析
蒲公英智能组网 高效搭建家装施工现场监控体系,告别“头秃”困扰
某食品加工厂结构施工图与智能化系统工程解析
精品弱电工程施工工艺图片欣赏 探秘智能化系统工程的精细设计与精湛施工
高校水电预付费系统的价值与智能化系统工程的设计施工要点
商业广场智能化系统工程 设计、施工与图纸汇总详解
新疆烧烤后厨全套CAD施工图设计与智能化系统工程实施指南
三层钢筋混凝土结构中型幼儿园弱电智能化施工图纸与系统工程指南
给排水专业智能化系统工程的设计与施工技术问答
楼宇智能化系统工程 从设计、施工到专业实训设备的全面解析
烟酒店智能化系统工程设计与CAD施工图全攻略
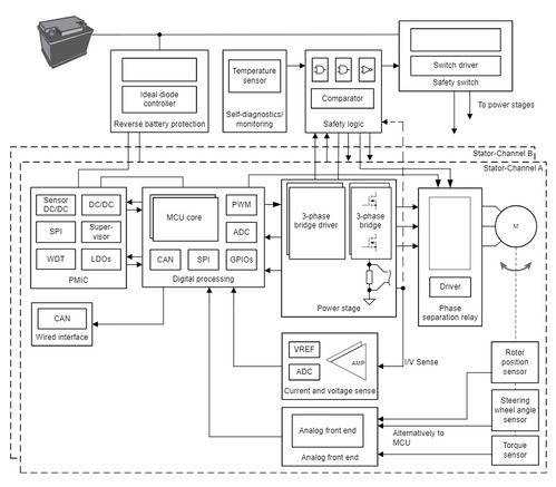
设计基于AMR角度传感器的智能化位置感应系统 工程设计与施工实践
商业综合体智能化规划设计方案(学习版)——智能化系统工程设计与施工要点解析
快速入门 如何高效看懂消防工程图与智能化系统工程设计施工
如若转载,请注明出处:http://www.kgbzm.com/product/list-3.html